2022-2023學年海南省儋州市八年級(下)期末物理試卷
發布:2025/11/1 3:0:17
一、選擇題(本大題有10小題,每小題只有一個正確的選項,每小題3分,共30分)
-
1.如圖所示,水平桌面上放置著一個底面積為100cm2、高為10cm、密度為0.9g/cm3的均勻圓柱體,和高為10cm的輕質薄壁圓柱形容器C,其內裝有6cm深的水。沿著豎直方向從正中將圓柱體切割為A、B兩部分,再將B豎直放入容器C中,靜止時B對容器底的壓強為p1,水對容器底的壓強為p2,且p1:p2=1:8,ρ水=1.0×103kg/m3,g取10N/kg。下列說法正確的是( )
①B放入容器C中后,C中水面上升2cm
②容器C的底面積為250cm2
③若將A也放入容器C中,A、B受到的總浮力為9N
④若將A也放入容器C中,C對桌面的壓強為1050Pa組卷:239引用:3難度:0.4解析 -
2.下列設備中,利用浮力的是( )
組卷:13引用:1難度:0.5解析 -
3.如圖簡單機械中,屬于省力杠桿的是( )
組卷:90引用:6難度:0.9解析 -
4.下列說法中錯誤的是( )
組卷:149引用:10難度:0.9解析 -
5.下列各圖中,屬于平衡力的是( )
組卷:32引用:3難度:0.9解析 -
6.用銅(密度大)和鐵制成的兩個實心金屬球,用細線栓好,分別掛在兩個彈簧測力計上,兩測力計的讀數相等,現將兩個金屬球都浸沒在水中,則( )
組卷:218引用:4難度:0.7解析 -
7.下列的說法中,正確的是( )
組卷:220引用:1難度:0.6解析 -
8.測一個6.2N的力時,應選用的彈簧測力計,最恰當的規格是( )
組卷:159引用:7難度:0.8解析 -
9.一束平行光正對凸透鏡照射時,在凸透鏡另一側距凸透鏡中心10cm的地方出現一個小亮點,那么把點燃的蠟燭放在光具座上距凸透鏡15cm的地方,在凸透鏡另一側移動光屏,在光屏上就可以得到( )
組卷:40引用:12難度:0.7解析 -
10.向如圖所示的玻璃瓶內注入水,然后將插有細玻璃管的軟木塞塞緊玻璃瓶,玻璃瓶壁有A、B兩個孔,也用軟木塞子塞住。瓶內液面如圖1所示,現將A、B處的木塞同時拔去后,則下列說法中正確的是( )組卷:310引用:2難度:0.7解析
二、填空題(本大題有7小題,每小題4分,共28分)
-
11.取大氣壓強值為1.0×105Pa,若一只手掌的面積為0.01m2,則手掌承受的大氣壓力是
N.在海拔2km以內,每升高10m,大氣壓約減少111Pa,若某處氣壓計示數是91120Pa,則該處海拔是m,該處水的沸點100℃(選填“>”、“=”或“<”)。組卷:291引用:11難度:0.7解析 -
12.當某定值電阻兩端電壓減少了5V時,電阻中的電流由0.3A變0.1A,則此定值電阻的阻值為Ω。
組卷:61引用:2難度:0.6解析 -
13.購物支付已進入“刷臉”時代,如圖所示,消費者結賬時只需面對攝像頭,經系統自
動拍照、掃描等,確認相關信息后,即可迅速完成交易。“刷臉”支付過程中,攝像頭相當于(選填“凸”或“凹”)透鏡,面部經攝像頭成倒立、(選填“縮小”、“等大”或“放大”)的實像。組卷:657引用:38難度:0.8解析 -
14.青少年如患有近視眼,應配戴由
制成的眼鏡進行視力矯正;中老年如患有遠視眼,應配戴由制成的眼鏡進行矯正。“老花鏡”的“度數”等于它的焦距(以m為單位)的倒數乘以100,某同學測得他奶奶所戴的老花鏡的焦距為25cm,則此眼鏡的度數為度。組卷:206引用:8難度:0.7解析 -
15.如圖所示的是確定不規則物體重心的方法,將不規則的薄木板懸掛起來,當木板靜止時,木板受到的重力和力是一對平衡力,它們(選填“是”或“不是”)在同一條直線上,這樣就可以在木板上畫出重力的作用線AB;利用同樣的方法再畫出另一重力作用線CD,AB、CD的就是木板的重心。組卷:81引用:1難度:0.8解析 -
16.攀巖是一項挑戰自然,超越自我的驚險運動。一位攀巖者體重為520N,背著質量為8kg的背包,用時40min登上高為9m的峭壁。在此過程中攀巖者對背包做功
J,他做功的平均功率是W.(g取10N/kg)組卷:1418引用:66難度:0.7解析 -
17.物體放在粗糙程度不變的水平地面上,在大小為6N的水平推力F作用下,向右做勻速直線運動,在3s內物體運動了15m,則物體受到的摩擦力大小為 N,水平推力F做功的功率為 W。(忽略空氣阻力)
組卷:14引用:1難度:0.7解析
三、作圖與實驗探究題(第18題4分,第19題6分,第20題10分,共20分)
-
18.物體靜止于水平地面上,畫出物體所受力的示意圖。組卷:176引用:11難度:0.3解析 -
19.如圖所示,凸透鏡與水面平行,一側的焦點恰好在水面上,水中一束入射光線射向凸透鏡的焦點,請畫出這束光線發生折射后的光路圖。組卷:362引用:12難度:0.7解析 -
20.某同學在探究凸透鏡成像規律時,將一個焦距15cm的凸透鏡固定在光具座上,調整蠟燭和光屏的位置,使燭焰在光屏上成清晰的像,如圖甲所示。

(1)若把燭焰移至20cm刻度處,凸透鏡位置不變,光屏應該向 移動,才能得到清晰的像。
(2)小鷺把該凸透鏡放在郵票正上方8cm、10cm、12cm處,均可觀察到與圖乙所示性質相同的像,由此可得:當物距 時,成 的虛像。組卷:5引用:1難度:0.7解析 -
21.物理興趣小組的同學利用周末開展一次登山活動,他們想利用所學的物理知識測量山的高度。若已知在豎直方向每升高10m大氣壓強就減小100Pa,且山下的大氣壓強為p0=1.0×105Pa。他們隨身攜帶了注射器(有刻度部分的容積為V=20mL、長度為L=10cm)、彈簧測力計、細線、刻度尺等。到達山頂后,他們首先排盡針筒內的空氣并用橡皮帽封住其小孔,進行了如圖所示的實驗,已知彈簧測力計拉活塞的力F=18N(實驗中針筒與活塞之間的摩擦不計)。請解答以下問題:

(1)水的沸點隨著高度的增加而 ;(選填“降低”、“不變”、“升高”)
(2)求活塞的橫截面積S;
(3)求山頂的大氣壓強p;
(4)求山頂的高度h。組卷:346引用:1難度:0.3解析
四、綜合應用題(第21題10分,第22題12分,共22分.解答時要寫出必要的文字說明、公式和具體步驟)
-
22.如圖所示是一艘海事打撈船正在打撈一沉入海底的物體,乙圖是鋼繩將物體豎直向上勻速提起的簡化示意圖,物體從海底被提升到離開海面一定距離的整個過程中速度均保持1m/s不變,從提升物體開始經過時間120s后物體剛好全部出水,已知物體的體積V=2m3,密度ρ=3×103kg/m3(忽略水的阻力和鋼繩重量,海水的密度取ρ水=1.0×103kg/m3,g取10N/kg),求物體浸沒在水中上升的過程中:
(1)物體受到的浮力;
(2)鋼繩提升物體的拉力;
(3)鋼繩拉物體做功的功率。組卷:21引用:1難度:0.4解析 -
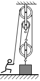
23.如圖,小明用100N的拉力勻速向下拉繩子,使物體在5s內上升2m,滑輪組的機械效率為80%,求:
(1)總功。
(2)拉力的功率。
(3)物重。
(4)動滑輪的重。(不計摩擦和繩重)組卷:16引用:1難度:0.5解析

